Product Summary
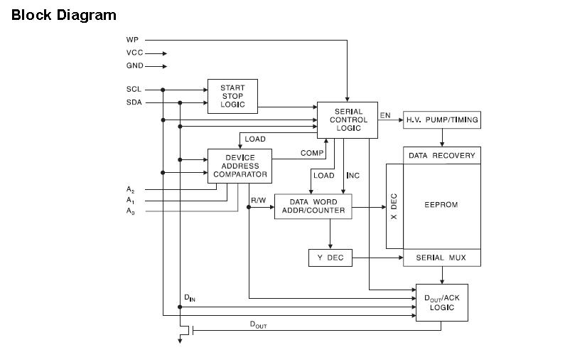
The AT24C32 Wire Serial EEPROM is optimized for use in many industrial and commercial applications where low power and low voltage operation are essential. The AT24C32 provides 32,768 bits of serial electrically erasable and programmable read only memory (EEPROM) organized as 4096 words of 8 bits each. The device’s cascadable feature allows up to 8 devices to share a common 2-wire bus.
Parametrics
AT24C32 absolute maximum ratings: (1)Operating temperature: -55° C to +125°C; (2)Storage Temperature:-65° C to +150°C; (3)Voltage on Any Pin with Respect to Ground:-1.0V to +7.0V; (4)Maximum Operating Voltage:6.25V;(5)DC Output Current:5.0mA.
Features
AT24C32 features: (1)Low-Voltage and Standard-Voltage Operation: VCC = 1.8V to 5.5V; (2)Low-Power Devices (ISB = 6 uA @ 5.5V) Available; (3)Internally Organized 4096 x 8, 8192 x 8; (4)2-Wire Serial Interface; (5)Schmitt Trigger, Filtered Inputs for Noise Suppression; (6)Bidirectional Data Transfer Protocol; (7)100 kHz (1.8V) and 400 kHz (2.5V) Clock Rate; (8)400 kHz (1.8V) Clock Rate for AT24C64A; (9)Write Protect Pin for Hardware Data Protection; (10)32-Byte Page Write Mode (Partial Page Writes Allowed); (11)Self-Timed Write Cycle (5 ms Max).
Diagrams

| Image | Part No | Mfg | Description | ![]() |
Pricing (USD) |
Quantity | ||||
|---|---|---|---|---|---|---|---|---|---|---|
![]() |
![]() AT24C32 |
![]() Other |
![]() |
![]() Data Sheet |
![]() Negotiable |
|
||||
![]() |
![]() AT24C32-10PC |
![]() Atmel |
![]() IC SEEPROM 32K 8DIP |
![]() Data Sheet |
![]() Negotiable |
|
||||
![]() |
![]() AT24C32-10PC-1.8 |
![]() Atmel |
![]() IC SEEPROM 32K 1.8V 8DIP |
![]() Data Sheet |
![]() Negotiable |
|
||||
![]() |
![]() AT24C32-10PC-2.5 |
![]() Atmel |
![]() IC SEEPROM 32K 2.5V 8DIP |
![]() Data Sheet |
![]() Negotiable |
|
||||
![]() |
![]() AT24C32-10PC-2.7 |
![]() Atmel |
![]() IC SEEPROM 32K 2.7V 8DIP |
![]() Data Sheet |
![]() Negotiable |
|
||||
![]() |
![]() AT24C32-10PI |
![]() Atmel |
![]() IC SEEPROM 32K 8DIP |
![]() Data Sheet |
![]() Negotiable |
|
||||
![]() |
![]() AT24C32-10PI-2.7 |
![]() Atmel |
![]() EEPROM 32/64k 2-Wire Bus |
![]() Data Sheet |
![]() Negotiable |
|
||||
![]() |
![]() AT24C32-10PI-1.8 |
![]() |
![]() IC EEPROM 32KBIT 400KHZ 8DIP |
![]() Data Sheet |
![]() Negotiable |
|
||||
(China (Mainland))












