Product Summary
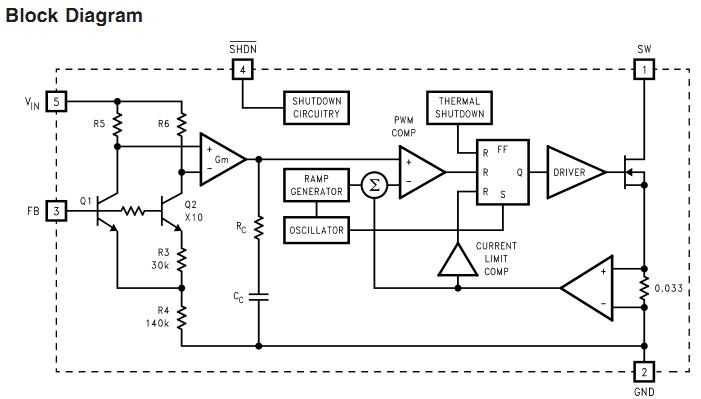
The LM2731XMFXNOPB is a switching regulator. It is a current-mode boost converter operating at fixed frequencies of 1.6 MHz (X option) and 600 kHz (Y option). The use of SOT-23 package, made possible by the minimal power loss of the internal 1.8A switch, and use of small inductors and capacitors result in the industry’s highest power density. The 22V internal switch makes these solutions perfect for boosting to voltages up to 20V. The applications of the LM2731XMFXNOPB include White LED Current Source, PDA’s and Palm-Top Computers, Digital Cameras, Portable Phones and Games, Local Boost Regulator.
Parametrics
LM2731XMFXNOPB absolute maximumum ratings: (1)Storage Temperature Range: -65 to +150℃; (2)Operating Junction Temperature Range: -40 to +125℃; (3)Lead Temp. (Soldering, 5 sec.): 300℃; (4)Power Dissipation: Internally Limited; (5)FB Pin Voltage: -0.4V to +6V; (6)SW Pin Voltage: -0.4V to +22V; (7)Input Supply Voltage: -0.4V to +14.5V; (8)Shutdown Input Voltage (Survival): -0.4V to +14.5V; (9)ESD Rating: 2 kV.
Features
LM2731XMFXNOPB features: (1)22V DMOS FET switch; (2)1.6 MHz (X), 0.6 MHz (Y) switching frequency; (3)Low RDS(ON) DMOS FET; (4)Switch current up to 1.8A; (5)Wide input voltage range (2.7V–14V); (6)Low shutdown current (<1 μA); (7)5-Lead SOT-23 package; (8)Uses tiny capacitors and inductors; (9)Cycle-by-cycle current limiting; (10)Internally compensated.
Diagrams

![]() |
![]() LM27 |
![]() Other |
![]() |
![]() Data Sheet |
![]() Negotiable |
|
||||||||||||
![]() |
![]() LM2700 |
![]() Other |
![]() |
![]() Data Sheet |
![]() Negotiable |
|
||||||||||||
![]() |
![]() LM2700LD-ADJ |
![]() National Semiconductor (TI) |
![]() DC/DC Switching Controllers |
![]() Data Sheet |
![]()
|
|
||||||||||||
![]() |
![]() LM2700LD-ADJ/NOPB |
![]() National Semiconductor (TI) |
![]() DC/DC Switching Controllers |
![]() Data Sheet |
![]()
|
|
||||||||||||
![]() |
![]() LM2700LDX-ADJ/NOPB |
![]() National Semiconductor (TI) |
![]() DC/DC Switching Controllers |
![]() Data Sheet |
![]()
|
|
||||||||||||
![]() |
![]() LM2700MT-ADJ |
![]() National Semiconductor (TI) |
![]() DC/DC Switching Controllers |
![]() Data Sheet |
![]()
|
|
||||||||||||
(China (Mainland))









