Product Summary
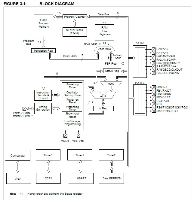
The PIC16F628AT-I/SO is the 18-pin Flash-Based, 8-Bit CMOS microcontroller with nanoWatt technology. The PIC16F628AT-I/SO typically achieves a 2:1 code compression and a 4:1 speed improvement over other 8-bit microcontrollers in its class.
Parametrics
PIC16F628AT-I/SO absolute maximum ratings: (1)Ambient temperature under bias: -40 to +125℃; (2)Storage temperature: -65 to +150℃; (3)Voltage on VDD with respect to VSS: -0.3 to +6.5V; (4)Voltage on MCLR and RA4 with respect to VSS: -0.3 to +14V; (5)Voltage on all other pins with respect to VSS: -0.3V to VDD + 0.3V; (6)Total power dissipation(1): 800 mW; (7)Maximum current out of VSS pin: 300 mA; (8)Maximum current into VDD pin: 250 mA; (9)Input clamp current, IIK (VI < 0 or VI > VDD): ± 20 mA; (10)Output clamp current, IOK (Vo < 0 or Vo >VDD): ± 20 mA; (11)Maximum output current sunk by any I/O pin: 25 mA; (12)Maximum output current sourced by any I/O pin: 25 mA; (13)Maximum current sunk by PORTA and PORTB (Combined): 200 mA; (14)Maximum current sourced by PORTA and PORTB (Combined): 200 mA.
Features
PIC16F628AT-I/SO features: (1)High-Performance RISC CPU; (2)Power-saving Sleep mode; (3)Programmable weak pull-ups on PORTB; (4)Multiplexed Master Clear/Input-pin; (5)Watchdog Timer with independent oscillator for reliable operation; (6)Low-voltage programming; (7)In-Circuit Serial Programming (via two pins); (8)Programmable code protection; (9)Brown-out Reset; (10)Power-on Reset; (11)Power-up Timer and Oscillator Start-up Timer; (12)Wide operating voltage range (2.0-5.5V); (13)Industrial and extended temperature range.
Diagrams

| Image | Part No | Mfg | Description | ![]() |
Pricing (USD) |
Quantity | ||||||||||||
|---|---|---|---|---|---|---|---|---|---|---|---|---|---|---|---|---|---|---|
![]() |
![]() PIC16F628AT-I/SO |
![]() Microchip Technology |
![]() 8-bit Microcontrollers (MCU) 3.5KB 224 RAM 16 I/O |
![]() Data Sheet |
![]()
|
|
||||||||||||
| Image | Part No | Mfg | Description | ![]() |
Pricing (USD) |
Quantity | ||||||||||||
![]() |
![]() PIC1018SCL |
![]() Other |
![]() |
![]() Data Sheet |
![]() Negotiable |
|
||||||||||||
![]() |
![]() PIC10F200 |
![]() Other |
![]() |
![]() Data Sheet |
![]() Negotiable |
|
||||||||||||
![]() |
![]() PIC10F200-E/MC |
![]() Microchip Technology |
![]() 8-bit Microcontrollers (MCU) 384B Flash16B RAM 4 I/O |
![]() Data Sheet |
![]()
|
|
||||||||||||
![]() |
![]() PIC10F200-E/OT |
![]() Other |
![]() |
![]() Data Sheet |
![]() Negotiable |
|
||||||||||||
![]() |
![]() PIC10F200-E/P |
![]() Microchip Technology |
![]() 8-bit Microcontrollers (MCU) U 579-PIC10F200-I/P |
![]() Data Sheet |
![]() Negotiable |
|
||||||||||||
![]() |
![]() PIC10F200-I/MC |
![]() Microchip Technology |
![]() 8-bit Microcontrollers (MCU) 0.375KB Fl 16B RAM |
![]() Data Sheet |
![]()
|
|
||||||||||||
(China (Mainland))










